2025年10月14日 星期二 兰花集团 | 文明上网 | 收藏本站 | 设为首页
   
水管连接装置
来源:  |  作者:  |  发布时间:2015年07月09日  |  点击次数:6494  |  【字号:

7  水管连接装置.doc


水管连接装置

 

技术领域

本实用新型涉及一种水管连接装置。

背景技术

煤矿井下在掘进过程中,为了堆放材料、设备等,需扩宽巷道及巷道拐弯等,钢管拐弯需要动火,一旦涉及动火,不仅配套的安全措施多,而且焊弯的钢管不能重复使用。在制作拐弯时,法兰盘孔口经常会出现不合适,需要花费很多的人力物力,操做复杂。

发明内容

本实用新型是为了解决煤矿井下过拱顶及扩宽处水管连接困难的问题,而提供一种适用于煤矿井下过拱顶及扩宽处的水管连接装置。

本实用新型是通过以下技术方案实现的:

水管连接装置,包括高压胶管、直通、法兰盘,所述的高压胶管的一端为钢制接头,钢制接头固定在直通内,所述直通的内径与钢制接头的外径相当,直通的另一端与法兰盘焊接。

本实用新型将高压胶管的钢制接头插入直通中,将两者固定,直通的另一端与法兰盘焊接,法兰盘另一面可以实和水管通过螺栓相连接,这样水管就可以避免过拱顶时烧焊钢管带来的麻烦。

本实用新型改变了以往的使用软管连接不方便或烧焊钢制管路不方便的工艺,特别适用于煤矿井下过拱顶及扩宽处,操作使用方便,安全可靠

附图说明

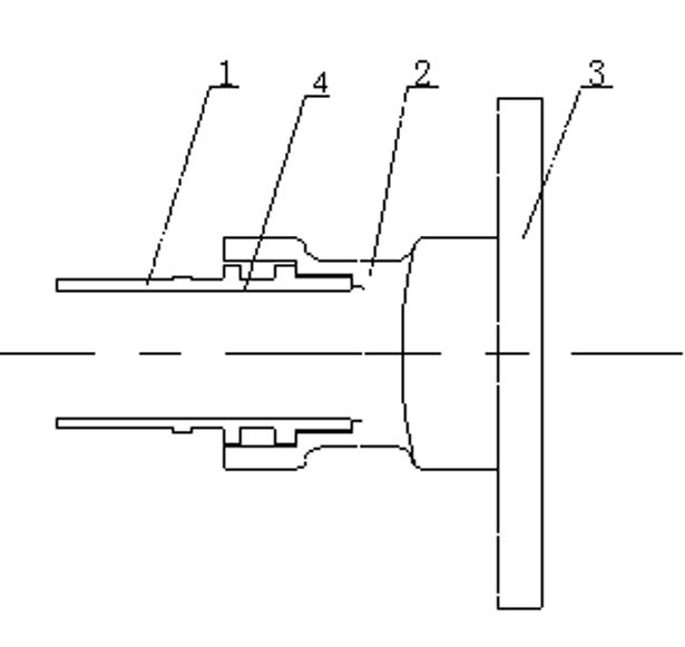
图1为本实用新型的结构示意图;

图2为图1的剖视图;

图中:1-高压胶管、2-直通、3-法兰盘、4-钢制接头。

具体实施方式

    以下结合附图对本实用新型作进一步说明。

如图1、2所示的水管连接装置,包括高压胶管1、直通2、法兰盘3,所述的高压胶管1的一端为钢制接头4,钢制接头4固定在直通2内,所述直通2的内径与钢制接头4的外径相当,直通2的另一端与法兰盘3焊接。

高压胶管1的钢制接头4固定在直通2内,直通2的另一端与法兰盘3焊接,法兰盘另一面可以实和水管通过螺栓相连接。

权利要求书

1、水管连接装置,其特征在于,包括高压胶管(1)、直通(2)、法兰盘(3),所述的高压胶管(1)的一端为钢制接头(4),钢制接头(4)固定在直通(2)内,所述直通(2)的内径与钢制接头(4)的外径相当,直通(2)的另一端与法兰盘(3)焊接。

说明书摘要

本实用新型公开了一种水管连接装置,解决了煤矿井下过拱顶及扩宽处水管连接困难的问题。水管连接装置,包括高压胶管、直通、法兰盘,所述的高压胶管的一端为钢制接头,钢制接头固定在直通内,所述直通的内径与钢制接头的外径相当,直通的另一端与法兰盘焊接。本实用新型改变了以往的使用软管连接不方便或烧焊钢制管路不方便的工艺,特别适用于煤矿井下过拱顶及扩宽处,操作使用方便,安全可靠

说明书附图

      

                               图1                                                                图2

          


  版权所有 © 山西兰花科技创业股份有限公司 地址:山西省晋城市凤台东街2288号兰花科技大厦 备案序号:晋ICP备2022010233号-1
邮编:048000 电话:0356-2189600 传真:0356-2189608 公安备案 14050002000771