2025年10月14日 星期二 兰花集团 | 文明上网 | 收藏本站 | 设为首页
   
滑动式电缆拖移架
来源:  |  作者:  |  发布时间:2010年09月08日  |  点击次数:12493  |  【字号:
<

滑动式电缆拖移架
专利号:ZL200820228039.9(实用新型)
发明人:王瑞金


1技术领域
   本实用新型涉及用于煤矿井下转载机和皮带机机尾电缆的移动装置,具体是一种滑动式电缆拖移架。

2背景技术
    在井下综放工作面顺槽运输过程中,大都配置转载机和可伸缩皮带机,转载机搭接在皮带机机尾上方,随着采煤的进度,转载机逐步跟进皮带机机尾,每次跟进约有12.5m长左右的距离时,可伸缩皮带机做缩短操作。加之井下运输顺槽空间有限,工作面供电开关正好在皮带机尾的一端放置,这样在工作面伸缩皮带和转载机搭接部位上,正好放置有数量多的电缆;目前,大都利用电缆挂钩将电缆悬挂于井下巷道顶部,在伸缩皮带时,由工人通过将悬挂有电缆的电缆挂钩交替前移来实现电缆的前移,电缆整理繁复,不但浪费时间,影响生产,又消耗人力,对生产很不利。

3发明内容
   本实用新型为了解决目前以电缆挂钩将电缆悬挂于井下巷道顶部的悬挂方式在实现电缆移位时存在费时费力的问题,提供了一种滑动式电缆拖移架。
    本实用新型是采用如下技术方案实现的:滑动式电缆拖移架,包括由两角钢背对固定构成的轨道,轨道上吊置有若干个能沿轨道移动的电缆悬挂架,所述电缆悬挂架包含两对称设置于轨道两侧的吊板,两吊板之间设置有若干个电缆架轴,两吊板上部设有沿轨道滚动的滑轮。 
    使用时,将其上吊置有若干个电缆悬挂架的轨道悬挂固定于井下巷道顶部,同时,将转载机和工作面伸缩皮带机搭接部位上的电缆置于电缆悬挂架的电缆架轴上,可以根据电缆的多少,分类别放置在电缆悬挂架的各电缆架轴上,在转载机的伸缩过程中,会拖拽电缆,在拖拽过程中,电缆悬挂架带着电缆跟随转载机机头移动的方向自动地顺着轨道进行自由滑动。
    与现有技术相比,本实用新型结构合理、紧凑,在伸缩皮带及移动转载机过程中快速实现电缆移位,节约了人力、时间,而且便于整理电缆,提高了效率,有利的促进了煤矿井下生产。

4附图说明


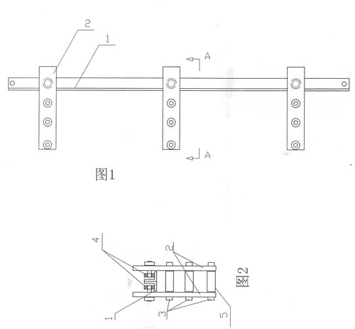
图1为本实用新型的结构示意图; 
图2为图1的A-A剖面图;
 
 
图中:1-轨道;2-吊板;3-电缆架轴;4-滑轮;5-套管。

5具体实施方式
    滑动式电缆拖移架,包括由两角钢背对固定构成的轨道1,轨道1上吊置有若干个能沿轨道1移动的电缆悬挂架,所述电缆悬挂架包含两对称设置于轨道1两侧的吊板2,两吊板2之间设置有若干个电缆架轴3,两吊板2上部设有沿轨道1滚动的滑轮4;具体实施时,电缆架轴3上设有套管5,用以避免电缆直接与电缆架轴摩擦而磨损电缆。

  版权所有 © 山西兰花科技创业股份有限公司 地址:山西省晋城市凤台东街2288号兰花科技大厦 备案序号:晋ICP备2022010233号-1
邮编:048000 电话:0356-2189600 传真:0356-2189608 公安备案 14050002000771