2025年10月14日 星期二 兰花集团 | 文明上网 | 收藏本站 | 设为首页
   
拉线卡模具
来源:  |  作者:  |  发布时间:2014年06月12日  |  点击次数:6715  |  【字号:
技术领域
本实用新型涉及一种模具,具体涉及一种应用于矿用皮带运输机的急停开关的拉线卡模具。
背景技术
在制做矿用皮带运输机要求安装急停开关时,急停开关拉线由卡子在皮带机上做固定,通常间隔3m一个,用量极大,一条皮带通常需500至800个开关卡。开关卡的制做工序为:下料-钻孔-弯制三步完成,但在制作过程中,经常出现成型不标准、制做效率低、夹持困难、钻孔易伤手等问题。
发明内容
本实用新型的目的是为了解决在钩件拉线卡制作过程中受工艺限制,效率低,劳动强度大,钻孔易扎手等的问题,而提供了一种拉线卡模具。
本实用新型是通过以下技术方案实现的:
拉线卡模具,包括钻孔夹持装置和弯制成型装置,其中钻孔夹持装置为其上开设有孔的的矩形钢板,矩形钢板的一侧固定有螺栓;弯制成型装置包括固定在底板中心的模具和挡块,固定在底板一侧的限位块和通过螺栓固定的按压加力杆。
使用时,通过钻孔夹持装置上的螺栓将物料固定在矩形钢板上,进行钻孔,然后将钻好孔的工件放在弯制成型装置模具中,通过旋转按压加力杆,一次按压成功,成型标准。
在矩形钢板上课设有多个螺栓,一组可夹持多个待加工件,并且在钻孔过程中由于对孔距进行了模具固定,省去了划线冲眼的工序,使工作效率大大提高
本实用新型成本造价极低,解决了钻孔易伤手、效率低、模压劳动强度大的缺陷,实现了制作过程安全高效。
附图说明
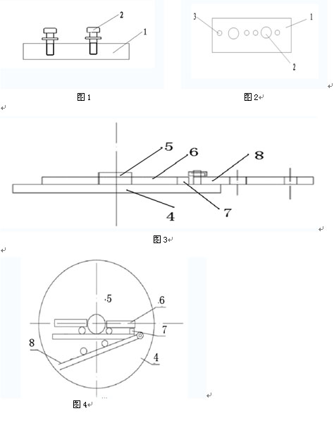
1为本实用新型的钻孔夹持装置的结构示意图;
2为图1的俯视图;
3为本实用新型的弯制成型装置的结构示意图;
4为图3的俯视图;
图中:1-矩形钢板、2-螺栓、3-孔、4-底板、5-模具、6-挡块、7-限位块、8-按压加力杆。
具体实施方式
以下结合附图对本实用新型做进一步说明。
如图1、2、3、4所示的拉线卡模具,包括钻孔夹持装置和弯制成型装置,其中钻孔夹持装置为其上开设有孔3的的矩形钢板1,矩形钢板1的一侧固定有螺栓2;弯制成型装置包括固定在底板4中心的模具5和挡块6,固定在底板4一侧的限位块7和通过螺栓固定的按压加力杆8。
权利要求书
1、一种拉线卡模具,其特征是包括钻孔夹持装置和弯制成型装置,其中钻孔夹持装置为其上开设有孔(3)的的矩形钢板(1),矩形钢板(1)的一侧固定有螺栓(2);弯制成型装置包括固定在底板(4)中心的模具(5)和挡块(6),固定在底板(4)一侧的限位块(7)和通过螺栓固定的按压加力杆(8)。
说明书摘要
本实用新型公开了一种应用于矿用皮带运输机的急停开关的拉线卡模具,涉及一种模具,解决在钩件拉线卡制作过程中受工艺限制,效率低,劳动强度大,钻孔易扎手等的问题。拉线卡模具,包括钻孔夹持装置和弯制成型装置,其中钻孔夹持装置为其上开设有孔的的矩形钢板,矩形钢板的一侧固定有螺栓;弯制成型装置包括固定在底板中心的模具和挡块,固定在底板一侧的限位块和通过螺栓固定的按压加力杆。本实用新型成本造价极低,解决了钻孔易伤手、效率低、模压劳动强度大的缺陷,实现了制作过程安全高效。
说明书附图
  版权所有 © 山西兰花科技创业股份有限公司 地址:山西省晋城市凤台东街2288号兰花科技大厦 备案序号:晋ICP备2022010233号-1
邮编:048000 电话:0356-2189600 传真:0356-2189608 公安备案 14050002000771