2025年10月14日 星期二 兰花集团 | 文明上网 | 收藏本站 | 设为首页
   
主风机风叶角度调整器
来源:  |  作者:  |  发布时间:2014年06月12日  |  点击次数:6679  |  【字号:
技术领域
本实用新型涉及一种用于调整煤矿主风机风叶角度的仪器,具体为一种主风机风叶角度调整器。
背景技术
目前,煤矿主风机运行后,其风量的大小是靠调整风机叶片角度来实现的,叶片角度大风量就大,叶片角度小风量就小。风机出厂时,轮毂上也只有三个刻度,无法实现对风机叶片角度的无极调整,那么就会出现这样的问题:就是将风机风叶调整的风量与矿井需要的风量相应匹配时,风叶角度不一定正好在运行的三个刻度上,如果风叶不在指定的这三个刻度上就可能造成风机叶片角度不相等,导致风机震动量大、噪声过大、风流不稳定,甚至会损坏风机。
发明内容
本实用新型的目的是为了解决现有煤矿主风机的叶片角度不能实现无极调整,而提供一种主风机风叶角度调整器。本实用新型可对风机风叶角度进行无极调整,可实现矿井风量与叶片角度的匹配。
本实用新型是通过以下技术方案实现的:
一种主风机风叶角度调整器,包括L形固定基板、半圆形量角刻度盘、角度调节板、法兰固定板、跑道,其中,L形固定基板是由水平方向的长板和垂直向下固接于长板端部的短板组成,在其短板的内侧两端对称垂直固接有跑道,且跑道与长板之间留有间隙;半圆形量角刻度盘设于固定基板的长板外侧表面上、并在其圆心处通过销轴与固定基板的长板转动连接,半圆形量角刻度盘的圆弧边上开设有弧形导槽,圆弧边外缘有0°~180°的角度刻线,弧形导槽内卡接有固定在固定基板长板上的羊角螺栓,固定基板的长板上还设有角度定位针;角度调节板垂直向上固定在半圆形量角刻度盘的端部,角度调节板的两端对称开设有风叶定位孔,风叶定位孔内螺纹连接有角度调整顶针,角度调整顶针和角度调节板之间夹设有连接板,连接板的另一端垂直固接有风叶定位销;法兰固定板的两端对称开设有法兰调整孔,法兰固定板的顶部两端对称固接有套管,套管套插在对应的跑道上,套管上开设有跑道定位孔,跑道定位孔内螺纹连接有跑道定位螺栓;L形固定基板、半圆形量角刻度盘、角度调节板、法兰固定板、羊角螺栓、角度定位针的轴线都位于同一平面上。
使用时,首先将法兰固定板通过其上的法兰调整孔固定在风机的连接法兰上,手握跑道,将本装置推向风机的其中一个风叶,并使两个风叶定位销分别卡住该风叶的两个边缘,以防止调整风叶时风叶随意摆动。然后松动该风叶的螺栓,使两个角度调整顶针同时顶在该风叶的一个平面上,接着在转动该风叶的同时也会带动角度调整顶针、风叶定位销、角度调节板和半圆形量角刻度盘的整体转动,以角度调整顶针为基准把该风叶转到所需要的合适角度,接着紧固跑道定位螺栓将跑道定位,同时紧固羊角螺栓,将半圆形量角刻度盘定位在L形固定基板,此时,角度定位针所指向半圆形量角刻度盘上的角度即为该风叶转动的角度。最后紧固该风叶的螺栓,该风叶的角度就调整好了,然后松开跑道定位螺栓,推出本装置调节角度部分,并以此角度继续调节下一个风叶,以此类推,直至把所有枫叶的角度调整一致。
进一步地,所述角度调节板两端的风叶定位孔依次由外向内对称开设有若干对。这样角度调整顶针和风叶定位销可以固接在不同位置的各对风叶定位孔中,以配合调整不同尺寸的风机风叶。
所述对称开设在法兰固定板两端的法兰调整孔为横向的长方形孔。这样固定法兰固定板时,便于配合风机法兰孔距的调整。
本实用新型成功规范了在调整主风机叶片角度时的盲目性,缩短了调整时间。本实用新型体积小,便于携带,操作简单,角度准确可靠,是煤矿主风机风叶调整的一种可靠仪器。
附图说明
1为本实用新型的结构示意图;
2为图1的左视图;
3为图1的俯视图;
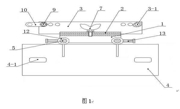
图中:1-L形固定基板、1-1-长板、1-2-短板、2-半圆形量角刻度盘、2-1-弧形导槽、3-角度调节板、3-1-风叶定位孔、4-法兰固定板、4-1-法兰调整孔、5-跑道、6-销轴、7-羊角螺栓、8-角度定位针、9-角度调整顶针、10-连接板、11-风叶定位销、12-套管、13-跑道定位螺栓。
具体实施方式
以下结合附图对本实用新型作进一步地描述:
如图1至图3所示,一种主风机风叶角度调整器,包括L形固定基板1、半圆形量角刻度盘2、角度调节板3、法兰固定板4、跑道5,其中,L形固定基板1是由水平方向的长板1-1和垂直向下固接于长板1-1端部的短板1-2组成,在其短板1-2的内侧两端对称垂直并平行固接有跑道5,且跑道5与长板1-1之间留有间隙;半圆形量角刻度盘2设于L形固定基板1的长板1-1上侧表面上、并在其圆心处通过销轴6与L形固定基板1的长板1-1转动铰接,半圆形量角刻度盘2的圆弧边内开设有弧形导槽2-1,圆弧边外缘有0°~180°的角度刻线,弧形导槽2-1内卡接有固定在L形固定基板1长板1-1上的羊角螺栓7,L形固定基板1的长板1-1上还设有角度定位针8;角度调节板3垂直向上固定在半圆形量角刻度盘2的端部,角度调节板3的两端对称开设有风叶定位孔3-1,风叶定位孔3-1内螺纹连接有角度调整顶针9,角度调整顶针9和角度调节板3之间夹设有连接板10,连接板10的另一端垂直固接有风叶定位销11;法兰固定板4的两端对称开设有法兰调整孔4-1,法兰固定板4的顶部两端对称固接有套管12,套管12套插在对应的跑道5上,套管12上开设有跑道定位孔,跑道定位孔内螺纹连接有跑道定位螺栓13;L形固定基板1、半圆形量角刻度盘2、角度调节板3、法兰固定板4、羊角螺栓7、角度定位针8都位于同一轴线上。
在具体实施时,所述角度调节板3两端的风叶定位孔3-1依次由外向内对称开设有若干对。这样角度调整顶针9和风叶定位销11可以固接在不同位置的各对风叶定位孔3-1中,以配合调整不同尺寸的风机风叶。此外,对称开设在法兰固定板4两端的法兰调整孔4-1可设置成为为横向的长方形孔,这样在固定法兰固定板4时,便于配合风机法兰孔距的调整。
权利要求书
1、一种主风机风叶角度调整器,其特征在于:包括L形固定基板(1)、半圆形量角刻度盘(2)、角度调节板(3)、法兰固定板(4)、跑道(5),其中,L形固定基板(1)是由水平方向的长板(1-1)和垂直向下固接于长板(1-1)端部的短板(1-2)组成,在其短板(1-2)的内侧两端对称垂直固接有跑道(5),且跑道(5)与长板(1-1)之间留有间隙;半圆形量角刻度盘(2)设于L形固定基板(1)的长板(1-1)外侧表面上、并在其圆心处通过销轴(6)与L形固定基板(1)的长板(1-1)转动铰接,半圆形量角刻度盘(2)的圆弧边上开设有弧形导槽(2-1),圆弧边外缘有0°~180°的角度刻线,弧形导槽(2-1)内卡接有固定在L形固定基板(1)长板(1-1)上的羊角螺栓(7),L形固定基板(1)的长板(1-1)上还设有角度定位针(8);角度调节板(3)垂直向上固定在半圆形量角刻度盘(2)的端部,角度调节板(3)的两端对称开设有风叶定位孔(3-1),风叶定位孔(3-1)内螺纹连接有角度调整顶针(9),角度调整顶针(9)和角度调节板(3)之间夹设有连接板(10),连接板(10)的另一端垂直固接有风叶定位销(11);法兰固定板(4)的两端对称开设有法兰调整孔(4-1),法兰固定板(4)的顶部两端对称固接有套管(12),套管(12)套插在对应的跑道(5)上,套管(12)上开设有跑道定位孔,跑道定位孔内螺纹连接有跑道定位螺栓(13);L形固定基板(1)、半圆形量角刻度盘(2)、角度调节板(3)、法兰固定板(4)、羊角螺栓(7)、角度定位针(8)的轴线都位于同一平面上。
2、根据权利要求1所述的主风机风叶角度调整器,其特征在于:所述角度调节板(3)两端的风叶定位孔(3-1)依次由外向内对称开设有若干对。
3、根据权利要求1或2所述的主风机风叶角度调整器,其特征在于:所述对称开设在法兰固定板(4)两端的法兰调整孔(4-1)为横向的长方形孔。
说明书摘要
本实用新型公开了一种主风机风叶角度调整器,解决了现有煤矿主风机的叶片角度不能实现无极调整的问题。本实用新型包括L形固定基板、半圆形量角刻度盘、角度调节板、法兰固定板、跑道等,跑道固接在L形固定基板的短板的两端,半圆形量角刻度盘置于L形固定基板的长板上且二者之间通过销轴转动连接,角度调节板固接在半圆形量角刻度盘的端部,并且角度调节板的两端对称开设有风叶定位孔,风叶定位孔内固接有角度调整顶针和风叶定位销,法兰固定板顶部两端固接有套管,套管套设于相应的跑道上,套管上还设有跑道定位螺栓。本实用新型体积小,便于携带,操作简单,角度准确可靠,是煤矿主风机风叶调整的一种可靠仪器。
说明书附图
  版权所有 © 山西兰花科技创业股份有限公司 地址:山西省晋城市凤台东街2288号兰花科技大厦 备案序号:晋ICP备2022010233号-1
邮编:048000 电话:0356-2189600 传真:0356-2189608 公安备案 14050002000771